
近期,科技巨头华为完成了新一期超短期融资券发行。
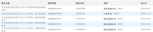
中国基金报记者从上海清算所(以下简称上清所)官网获悉,华为投资控股有限公司(以下简称华为控股)在8月12日披露了2024年度第四期超短期融资券发行结果,债券简称“24华为SCP004”,实际发行总额40亿元,利率为1.60%,期限为130天。事实上,华为控股今年以来已经发行了130亿元超短期融资券。

华为又发40亿元超短期融资券
今年发行总金额达到130亿元
8月12日,上清所官网披露的信息显示,华为控股于今年8月7日至8月8日完成了2024年度第四期超短期融资券的发行,债券简称为“24华为SCP004”,实际发行总额是40亿元,发行利率为1.60%,期限为130天,起息日为2024年8月9日,兑付日为2024年12月17日。
据了解,此次华为控股发债的债券主承销商/簿记管理人为浦发银行,联席主承销商为农业银行、兴业银行。
从申购情况看,合规申购家数为30家,合规申购金额达到161.2亿元,其中最高申购价位为2.10%,最低申购价位为1.55%;其中,有效申购家数为11家,有效申购金额为54亿元。

关于上市流通安排,华为控股发行的本期超短期融资券,在债权登记日的次一工作日(2024年8月12日),即可以在全国银行间债券市场流通转让。
联合资信评估股份有限公司确定华为控股主体长期信用等级为AAA,评级展望为稳定。上述级别表明公司偿还债务的能力极强,基本不受不利经济环境的影响,违约概率极低。
关于此次募集资金运用,华为控股在募集说明书中表示,主要是为了支撑各项业务发展和关键战略落地,将用于补充公司本部及下属子公司营运资金。
事实上,今年以来华为控股已经多次发债融资,包括超短期融资券和中期票据。此前在今年2月、3月和4月,其分别发行了三期超短期融资券,利率分别为2.12%、2.08%、1.84%,发行金额均为30亿元。如果加上最新这笔,华为控股今年发行的超短期融资券共计130亿元。

关于华为控股目前存续债务的情况,募集说明书还披露,发行人存续境内中期票据13笔,共计380亿元人民币;超短期融资券3笔,共计90亿元人民币;发行人子公司存续境外美元债券3笔,共计35亿美元。
华为披露近几年来财务状况
每年将10%以上销售收入投入研发
资料显示,华为控股是华为技术有限公司(以下简称华为技术)的母公司,持有华为技术100%股份。从股权结构来看,华为控股由华为投资控股有限公司工会委员会持有99.35%的股份,由任正非持有0.65%的股份。

募集说明书披露了华为控股的合并财务报表。公司2021年、2022年和2023年合并口径实现营业收入分别为6306.98亿元、6368.16亿元和6975.47亿元,其中2023年营业收入较2022年增长9.54%,经营情况符合预期。其中,ICT(信息与通信技术)基础设施业务保持稳定增长,终端业务好于预期,数字能源和华为云业务实现良好增长,智能汽车部件竞争力和用户体验显著提升。

同时,公司2021年、2022年和2023年合并口径营业利润分别为1214.18亿元、433.24亿元和992.28亿元。
今年4月30日,华为控股披露的2024年一季报显示,期内公司实现营业收入约1784.5亿元,同比增长36.66%;归母净利润约196.5亿元,同比增长约564%。
募集说明书也提到,华为是全球最大的专利权人之一。截至2023年底,华为在全球共持有有效授权专利超过14万件。华为坚持每年将10%以上的销售收入投入研究与开发。2023年,研发费用支出为1647亿元,占全年收入的23.4%。近10年累计投入的研发费用超过11100亿元。截至2023年年底,研发员工约11.4万名,占总员工数量的55%。
今年一季度,华为的研发费用达到415.87亿元,比去年同期增长了13.8%。
华为本身手握大把现金,财报显示,截至2023年年末,公司期末现金及现金等价物余额为1929.03亿元,截至今年一季度末为2062.54亿元。
编辑:舰长
审核:陈墨
2024-08-13 08: 31
2024-08-13 08: 31
2024-08-13 00: 09
2024-08-13 00: 09
2024-08-13 00: 09
2024-08-13 00: 09