期货大佬葛卫东最近又赚翻了?
新三板交易信息显示,葛卫东实际控制的挂牌公司混沌天成期货,此前鲜有交易,但今年年初以来却从1.67元/股涨至最新的33元/股,涨幅超过1800%,该公司近期已连发多份股票交易异常波动公告。
业内人士认为,作为新三板基础层公司,混沌天成的二级市场交易价格一般不具备定价的参考价值。其在此次披露的半年报也显示,混沌天成在去年上半年净利润亏损716.83万元。
混沌天成今年涨幅超1800%
近年来少有投资交易、鲜有人问津的新三板挂牌公司混沌天成期货,今年以来股价却乘上了火箭,出现暴涨。1月7日,混沌天成涨了80.24%,报收3.01元/股;1月10日上涨99.67%,报收6.01元/股;2月10日又大涨45.57%,报收8.88元/股。
本周,2月16日混沌天成又暴涨了100%,报收17.76元/股;2月17日该公司一度涨至阶段高点35.50元/股,但股价冲高回落,截至收盘报收27.76元/股,当天涨了56.31%;2月18日,混沌天成股价继续涨了18.88%,周五收盘报收33元/股。

从年初至今,混沌天成的股价从1.67元/股涨至最新的33元/股,涨幅高达1876.05%。但是基金君也发现,其成交量却很小,其中,1月7日仅成交1000股,成交额3010元;1月10日成交量更小,仅为500股,成交额为3005元;2月10日成交300股,成交额为2158元;2月16日成交200股,交易额为3552元;2月17日成交量为800股,但成交额升至2.30万元;2月18日成交100股,成交额为3300元。
混沌天成的最新市值达到了267亿元,甚至高于A股同类期货公司南华期货、瑞达期货这两家2月18日收盘市值分别为79亿元、94亿元。
连发两份股价异常波动公告
业内认为股价不具备定价参考价值
值得注意的是,混沌天成今年1月11日、2月17日已经连续两次发布《股票交易异常波动公告》。2月17日晚间混沌天成发布公告称,公司股票最近2个有成交的交易日(2月16日、2月17日)以内收盘价涨幅累计达到212.613%,根据《全国中小企业股份转让系统股票异常交易监控细则(试行)》的有关规定,属于股票异常交易波动情形。

混沌天成表示,前期公告的事项不存在需要更正、补充之处,或取得重大进展或变化;不存在可能或已经对本公司股票交易价格产生较大影响的媒体报道或市场传闻,不涉及热点概念事项;近期公司经营情况及内外部经营环境未发生重大变化;公司、控股股东和实际控制人不存在关于本公司的应披露而未披露的重大事项,或处于筹划阶段的重大事项;不存在其他可能对股价产生较大影响的重大事件。
业内人士表示,混沌天成是新三板基础层的挂牌企业,流动性较差,很小的交易量都有可能引起股价大幅波动;而且其交易没有连续性,从之前披露的半年报看股东户数仅有12户,所以其二级市场的交易价格不具备定价的参考价值。尽管今年其涨幅超过1800%,从账面上来看葛卫东财富出现暴增,但是实际意义并不大。
去年上半年净利润亏损717万元
主要受股市波动影响
公开资料显示,混沌天成期货原名广东鸿海期货,成立于1995年;2014年6月,其控股股东变更为上海混沌投资(集团)有限公司,实控人为混沌投资董事长兼总经理葛卫东,也更名为混沌天成期货;目前公司的注册资本为8.1亿元,总部位于深圳,下设分支机构8个,分布在广西、上海、浙江、北京、云南、湖北、四川、山东。经营范围包括商品期货经纪、金融期货经纪、期货投资咨询。目前,混沌天成的核心业务是商品期货经纪和金融期货经纪业务,手续费收入和利息净收入是公司主营业务收入的主要来源。
2017年3月8日,混沌天成期货在全国股转系统(新三板)挂牌上市,公司法定代表人是黄璐。
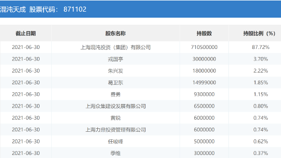
从股权关系来看,上海混沌投资(集团)有限公司持有混沌天成87.72%的股权,为控股股东;同时,葛卫东以个人名义持有混沌天成1.85%的股权。穿透股权结构,混沌天成期货的实际控制人是私募大佬葛卫东。

从财务情况看,混沌天成披露的2021年半年报显示,2021年上半年,混沌天成期货实现营业收入7.13亿,同比下滑48.80%;实现归属于挂牌公司股东的净利润为-716.83万元,同比减少103.43%;基本每股收益为-0.01元。
对于营收和净利润均出现大幅下滑的原因,混沌天成解释,营收下滑的主要原因是母公司投资股票盈利(包含公允价值变动收益)减少3.45亿元、全资子公司混沌天成资管实现风险管理业务收入同比减少3.82亿元所致;净利亏损的主要原因是受2021年上半年股票市场行情波动影响,母公司股票投资亏损5082.06万元(包含公允价值变动收益)、去年同期股票投资盈利2.95亿元(包含公允价值变动收益)。

半年报还显示,报告期内,混沌天成实现经纪业务手续费收入2430.86万元,母公司本期期货经纪业务收入较上期增加;实现资产管理业务收入1356.75万元,孙公司混沌天成国际资产管理有限公司资管业务收入增加;实现利息收入1413.61万元,全资子公司混沌天成资本管理有限公司本期票据贴现利息支出较去年减少 628.42万元;投资收益本期占营业收入比例比上期增加 27.58%,主要是因为本期母公司股票投资实现盈利较去年同期股票实现盈利增加所致;但是,公允价值变动收益本期占营业收入比例比上期减少140.34%,主要是因为本期母公司股票浮亏所致。
另外,从偿债能力看,混沌天成的总资产为51.95亿元,总负债为36.89亿元,归属于挂牌公司股东的净资产为14.50亿元。
葛卫东现任上海混沌投资有限公司董事长,他以期货投资起家,做得非常成功,人称“东邪”,在期货圈是名副其实的大佬级人物,2020年葛卫东以200亿元人民币财富位列胡润百富榜第267位。近年来,50多岁的葛卫东将更多投资的精力转向股票二级市场,青睐的主要是一些颇具成长属性的新兴赛道的上市公司,包括新能源、半导体、人工智能、新消费等。
从此前披露的去年三季报信息可以看到,葛卫东在去年三季度末还持有凯盛新材、用友网络、兆易创新、科大讯飞、移远通信、盛新锂能、安恒信息等多家A股上市公司的股票,还有北交所上市公司贝特瑞。
2022-02-20 20: 30
2022-02-20 21: 30
2022-02-20 21: 00
2022-02-20 18: 30
2022-02-20 18: 00
2022-02-20 17: 30